Под заказ
Срок поставки - 25 дней
Заказать
Наши менеджеры обязательно свяжутся с вами и уточнят условия заказа
Описание
Для крепления применяется:
- Палец E 99
Подробности
Характеристики
Вид
—
Зубья
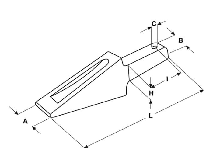
| Оригинальный код | Размеры (mm) | Вес (kg) | Прочность на разрыв (kg) | |||||
|---|---|---|---|---|---|---|---|---|
| L | A | B | H | I | C | |||
| 3027689 - 38104 | 505 | 95 | 64 | 64 | 172 | 20 | 14,7 | 19000 |
Большой выбор зубьев, коронок, адаптеров для экскаваторов, погрузчиков и другой строительной техники.
Импортёр в РБ: ЗАО «ТЕХПРОМИМПЕКС», 220070, г. Минск, ул. Солтыса 96, офисные помещения 1-го этажа
Любая форма оплаты — подробнее
Склад (г. Минск, ул. Солтыса 96), график: Пн-Чт: 08:00-17:30 Пт: 08:00-16:30
Вся информация о товаре на сайте предоставлена для ознакомления и не является публичной офертой. Производители оставляют за собой право изменять упаковку, внешний вид, характеристики или комплектацию товара, предварительно не уведомляя об этом продавца. Убедительно просим Вас отнестись с пониманием к данному факту и заранее приносим извинения за возможные неточности в описании или фотографиях товара. Будем благодарны за информацию об ошибках — это поможет сделать наш каталог точнее! С уважением, команда tpi.by.